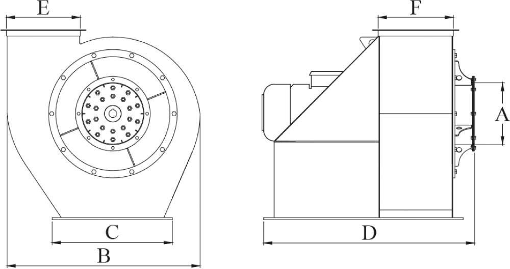
Toz Aspiratörleri, değirmen tesislerinde yardımcı ekipman olarak kullanılır. Diğer makinelerin ihtiyaç duyduğu aspirasyon işlemlerinde kullanılır. Değirmenin pnömatik sistem içindeki toz emiş amacıyla kullanılır. Bu tip aspiratörler, uzun yıllar gıda sanayi, silolama tesisleri gibi endüstri kollarında en çok kullanılan debi ve basınç değerleri baz alınarak tespit edilmiş ve imalatı seri hale getirilmiştir.



