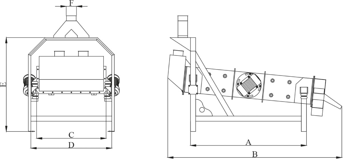
Çöp Sasörü üst kısımda bulunan mamul giriş bölümünde bulunan içeri giren ürün elekler üzerine iner. Elekler üzerindeki ürün vibro motorların titreşimi ile yayılmaya başlar. Üst elekle temas eden ürün içerisinde bulunan çöp, saman, başak vb. Maddeler sürüklenerek kaba materyal çıkışından dışarı atılır. Bu arada alt elek üzerine dökülmüş buğday veya kullanılması gereken ürün titreşim etkisiyle mamul çıkışına iletilir. Gerçekleşen bu işlemler sonucunda ayrılmış olan kırık, toz, kum, haşere vb. maddeler makine tabanına dökülerek kırık mamul çıkışından dışarı atılır.

